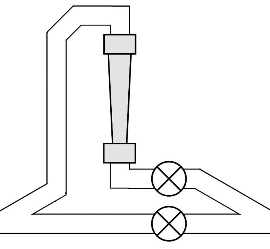
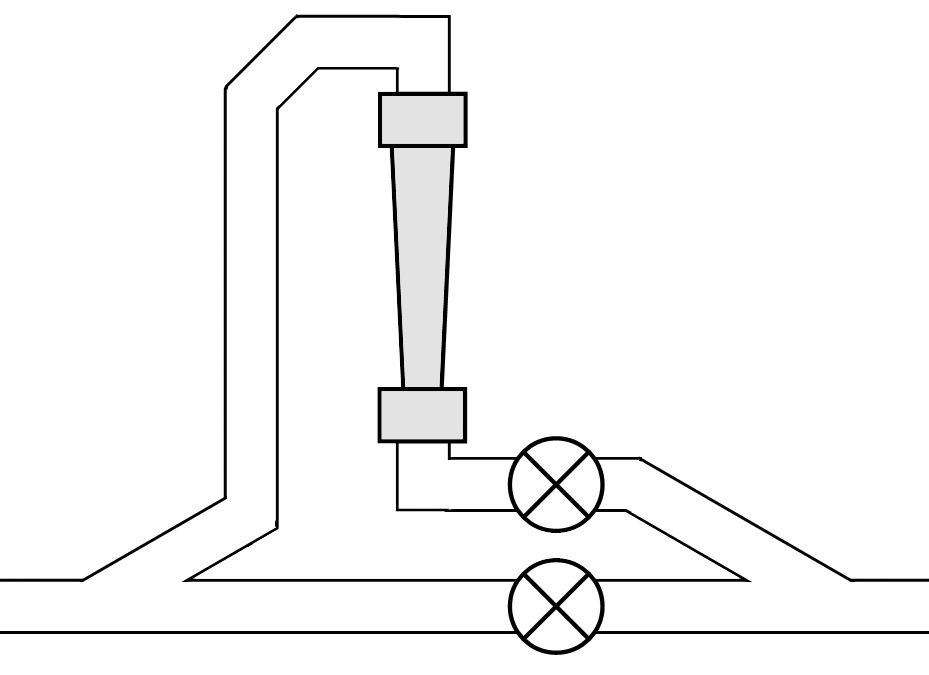
Economy Flowmeter EC 75mm
Economy Flowmeter EC 75mm
- Zeer scherpe prijs!
- PVC huis, lijmverbinding d.m.v. 2/3 koppeling,
- drijver ABS, afdichting EPDM,
- maximale druk 6 bar,
- maximale medium temperatuur 60°C
- Bereik: 5 - 25 m3/uur
- Lengte (Incl. koppeling): 430mm










